Системы смазывания оборудования
Долговечность работы оборудования, выражающаяся в сохранении его исходных характеристик, напрямую определяется степенью износа трущихся деталей и узлов. Обеспечить их надёжную работу можно только при условии регулярного и корректного смазывания.
Применение смазки в станках выполняет сразу несколько функций: снижает потери мощности, вызванные трением; уменьшает износ сопрягаемых поверхностей; стабилизирует работу технологической системы; поддерживает допустимый тепловой режим в зоне обработки; способствует сохранению точности станка и повышает общий коэффициент полезного действия оборудования.
В зависимости от характера нагрузки, скорости движения и температуры рабочей среды для трущихся пар используются смазочные материалы, оптимально подходящие под конкретные условия работы:
- индустриальные масла марок 12, 20, 30, 45, 50;
- цилиндровые масла (лёгкое 11, марки Л и Т);
- пластичные смазки, в том числе синтетический солидол Сс и консистентные составы.
Выбор вязкости масла определяется эксплуатационными условиями. С увеличением удельных нагрузок и рабочих температур смазочный материал должен обладать повышенной вязкостью. Если же элементы перемещаются с высокой скоростью, предпочтение отдаётся менее вязким маслам. При этом важно, чтобы температура застывания масла была ниже минимальной эксплуатационной температуры, а температура вспышки превышала максимально допустимую рабочую температуру узла.
Для разных узлов станка применяются специальные смазки:
- Для механизмов коробок скоростей и подающих устройств применяются масла со средней вязкостью;
- Направляющие смазываются более вязкими маслами или специализированными смазками, обеспечивающими долговечность и точность хода;
- Шпиндельные подшипники скольжения требуют лёгких маловязких масел, обеспечивающих плавное вращение и минимальное трение.
Способы подачи смазки зависят от конструкции станка и условий его эксплуатации. На практике используют:
- Ручное нанесение смазочного материала;
- Подачу масла каплями или через фитиль;
- Циркуляцию смазки внутри системы;
- Сочетание различных способов подачи смазки;
- Разбрызгивание масла на рабочие поверхности
В автоматизированных производственных линиях и агрегатных станках находят применение централизованные системы смазывания, обеспечивающие периодическую дозированную подачу масла в строго определённые точки. Подобные системы всё чаще применяются и в универсальных станках для смазывания наиболее нагруженных узлов, таких как шпиндельная бабка и коробка подач токарно-винторезных станков.
Смазка зубчатых передач и подшипников в редукторах и шпиндельных коробках чаще всего осуществляется методом разбрызгивания, что обеспечивает равномерное распределение масла по трущимся поверхностям.
Основные типы смазывания
Каждый тип смазывания имеет свои преимущества и ограничения по применению, поэтому правильный выбор метода критически важен для эффективной работы механизма. Основные виды смазывания механизмов включают следующие методы:
Ручное смазывание
Применяется в тех случаях, когда подача масла осуществляется периодически обслуживающим персоналом. При этом смазочный материал наносят на трущиеся поверхности с помощью маслёнки или шприца, подводя его через специально выполненные отверстия. Для защиты от попадания пыли и грязи такие отверстия снабжают различными видами закрывающих устройств:
- маслёнками с подпружиненным шариком (рис. ZSK.39.1, а);
- крышками с поворотным фиксатором (рис. ZSK.39.1, б);
- другими типами простых защитных элементов.
В случаях, когда требуется более надёжная и равномерная подача масла, используют небольшие ручные поршневые насосы (рис. ZSK.39.1, в), которые закрепляют непосредственно на станке. Принцип их работы следующий: при нажатии на кнопку 1 поршень 2 опускается вниз и, преодолевая сопротивление обратного клапана с шариком 6, выталкивает масло к смазываемым поверхностям. Обратное перемещение поршня происходит под действием пружины 5, и в этот момент из резервуара 3 через отверстие 4 под поршень поступает новая порция масла.
Таким образом, ручной способ обеспечивает простое и надёжное смазывание, хотя требует регулярного вмешательства оператора.
Фитильный и капельный способы смазывания относятся к системам непрерывного действия. Их работа основана на том, что смазочный материал постоянно, но малыми дозами подводится к трущимся поверхностям. Для этого оператору необходимо лишь периодически пополнять маслом небольшие резервуары, откуда оно автоматически поступает в зоны трения.
Для реализации таких способов применяют простые и надёжные по конструкции устройства – фитильные и капельные маслёнки, которые устанавливаются в заранее подготовленные резьбовые отверстия на корпусных деталях станка.
- В фитильной маслёнке (рис. ZSK.39.1, г) масло, находящееся в корпусе 1, подаётся по трубке 3 к узлам трения. Дозирующим элементом является фитиль 2, который, впитывая масло, обеспечивает его постепенную и равномерную подачу. Такой способ хорош тем, что смазка поступает малыми количествами, но постоянно, без риска перелива.
- В капельной маслёнке (рис. ZSK.39.1, д) смазочный материал, находящийся в резервуаре 2, стекает к трущимся поверхностям самотёком через отверстия в трубке 3. Интенсивность смазывания можно регулировать изменением положения иглы 1, которая перекрывает проход и тем самым задаёт количество капель в единицу времени. Такой метод позволяет более гибко дозировать подачу масла в зависимости от потребностей узла.
Таким образом, оба способа обеспечивают непрерывное и относительно простое смазывание при минимальных затратах обслуживания, однако требуют регулярного контроля за уровнем масла в бачках.

Рис. ZSK.39.1. Устройство для смазывания: а, б, г, д – масленки; в – ручной насос; в – плунжерный насос с приводом от коробки скоростей
Дозаторный способ смазывания
При данном методе подача масла к поверхностям трения осуществляется не непрерывно, а строго через заданные интервалы времени либо в определённый момент, когда это необходимо. Для этого применяются специальные устройства-дозаторы, позволяющие точно регулировать количество смазочного материала.
Простейшей конструкцией такого типа считается капельная маслёнка, которая за счёт силы тяжести и регулирующего игольчатого механизма подаёт порции масла в виде отдельных капель. Таким образом, обеспечивается экономичное расходование смазки и возможность контролировать подачу даже в условиях ограниченного доступа.
Циркуляционный способ смазывания
Это один из наиболее надёжных и эффективных методов, применяемых в современных станках. Его особенность заключается в том, что смазка постоянно подаётся под давлением насоса непосредственно к трущимся узлам, а затем, после выполнения своей функции, самотёком возвращается в общий резервуар, откуда снова поступает в систему. Такая схема обеспечивает не только стабильную смазку, но и дополнительное охлаждение деталей, так как масло циркулирует в замкнутом контуре.
Для обеспечения циркуляции в станках может использоваться один или несколько насосов, в зависимости от конструкции и количества узлов, требующих смазывания.
На рис. ZSK.39.1, е представлен плунжерный насос, который, например, используется на консольно-фрезерных станках для подачи масла в коробки скоростей. Принцип его работы основан на возвратно-поступательном перемещении плунжера 2, которое создаётся пружиной 5 и эксцентрично установленным шарикоподшипником 1 на валу коробки.
При движении плунжера вверх масло из резервуара всасывается в рабочую полость 6 через трубку 8 и открытый обратный клапан 7. При обратном ходе плунжера вниз открывается обратный клапан 4, и масло через трубопровод 3 поступает к смазываемым узлам станка, после чего возвращается обратно в резервуар.
Благодаря такой схеме обеспечивается непрерывная и равномерная подача масла в наиболее нагруженные узлы, что значительно увеличивает их ресурс и снижает риск перегрева.
Способ смазывания разбрызгиванием (картерное смазывание).
Данный метод относится к числу простых и в то же время эффективных способов смазывания, широко применяемых в станках и редукторах. Его суть заключается в том, что корпус узла одновременно выполняет роль резервуара для масла, а подача смазочного материала к трущимся поверхностям обеспечивается за счёт его разбрызгивания при работе механизма.
Смазка распределяется следующим образом:
- Внутри корпуса в масляную ванну частично погружены отдельные элементы механизма.
- При вращении эти элементы захватывают масло и за счёт центробежных сил разбрызгивают его на стенки корпуса и смазываемые поверхности.
В качестве разбрызгивающих элементов используют:
- Крыльчатку, закреплённую на быстроходном валу коробки скоростей;
- либо одно из зубчатых колёс, нижняя часть которого погружена в масло (рис. ZSK.39.2).
Благодаря постоянному вращению обеспечивается равномерное распределение масла по всем поверхностям трения. Далее смазка самотёком стекает обратно в картер, формируя замкнутый цикл смазывания без насоса.
Преимущества метода:
простота конструкции (нет необходимости в дополнительных насосах и дозаторах),
надёжность и долговечность работы,
постоянная подача масла к трущимся поверхностям,
дополнительное охлаждение узлов за счёт циркуляции масла.
Область применения:
Такое смазывание особенно удобно в узлах, где детали вращаются с достаточно высокой скоростью, например, в коробках скоростей и подач станков, а также в ряде редукторов и приводов, где корпус может одновременно служить и резервуаром для масла.

Рис. ZSK.39.2. Смазывание разбрызгиванием
Комбинированный способ смазывания
В большинстве станков использование только одного способа смазывания оказывается либо недостаточным, либо нецелесообразным. По этой причине применяют комбинированный метод, который сочетает в себе несколько различных способов смазывания – ручной, капельный, циркуляционный, разбрызгиванием и др.
В зависимости от организации подачи масла различают:
- Индивидуальные системы, когда каждая маслёнка или насос обслуживает только одну точку смазки;
- Групповые системы, при которых один источник подачи масла распределяет смазку сразу на несколько узлов;
- Централизованные системы, где от единого насоса смазка распределяется по всей системе станка.
На практике в одном станке может одновременно использоваться несколько систем смазывания.
На примере консольно-фрезерного станка 6Р82Ш и продольно-фрезерного станка 6610 можно рассмотреть организацию системы смазки их узлов. Смазка подшипников зубчатых колёс коробки скоростей горизонтального шпинделя, а также механизмов переключения передач осуществляется с помощью плунжерного насоса (см. рис. ZSK.39.1, е), приводимого в действие эксцентриком 1 на валу коробки скоростей. В качестве ёмкости для масла используется станина станка, а заправка проводится через угольник 19 (см. рис. ZSK.39.3) до уровня середины маслоуказателя 5. Контроль работы системы осуществляется визуально, по прохождению масла через маслоуказатель 6, а слив — через патрубок 18.
Для коробки скоростей хобота применяется разбрызгивающий способ смазки: масло заливается через пробку 9 до уровня маслоуказателя 8, а его слив выполняется через пробку 7, расположенную в нижней части хобота. Отдельные элементы, такие как накладная и поворотная головки, а также концевые опоры продольного винта, смазываются вручную через маслёнки 11, 13 и 14 с применением шприца.
Подшипники, зубчатые передачи коробки подач, механизмы переключения скоростей, а также узлы консоли, стола и салазок получают смазку от плунжерного насоса с золотниковым распределителем (см. рис. ZSK.39.1), установленного внутри коробки подач. Насос 1 засасывает масло из ванны через сетчатый фильтр 2 и подаёт его в распределитель 3. В исходном положении, когда кнопки 5 и 6 не задействованы, золотник 4 находится в правом положении, направляя поток масла к распределителю и далее по трубопроводам к зубчатым колёсам, подшипникам и винтам поперечного и вертикального перемещения стола. При нажатии одной из кнопок золотник смещается влево, что блокирует подачу к распределителю и перенаправляет масло к вертикальным направляющим консоли или к механизмам продольного перемещения стола и направляющим салазок.

Рис. ZSK.39.3. Схема смазывания широкоуниверсального консольно-фрезерного станка 6Р82Ш
Заливка масла в коробку подач производится через угольник 16 до уровня середины маслоуказателя 17 (см. рис. ZSK.39.3). Работа смазочной системы контролируется визуально по маслоуказателю 3, а для слива масла используется пробка 15. Смазка подшипников серьги осуществляется капельным методом: масло подаётся через пробку 10, а контроль уровня выполняется с помощью маслоуказателя 12. Опоры винта продольной подачи обслуживаются при помощи шприцевания через масленки 4. Для отдельных узлов — накладной и поворотной головок, а также опор продольного ходового винта, где предусмотрены специальные масленки, применяется консистентная смазка.
Перед запуском станка необходимо убедиться, что все резервуары заполнены до требуемого уровня, проверить работу маслёнок и прошприцевать каждую точку смазки. Далее ручным насосом прокачивают масло по направляющим и механизму продольного перемещения стола. Через 2–3 минуты после запуска в контрольных глазках маслоуказателей появляется масло, что свидетельствует о правильной циркуляции смазочной жидкости и корректной работе системы смазывания.

Рис. ZSK.39.4. Плунжерный насос с золотниковым распределителем
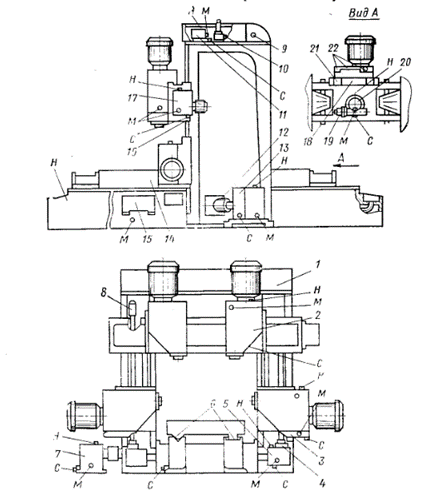
Система смазки продольно-фрезерного станка модели 6610 (рис. ZSK.39.5) охватывает практически все основные узлы и механизмы, требующие регулярного обслуживания. Смазка подается к подшипникам и зубчатым парам фрезерных головок 2 и 3, а также в коробки подач боковых и вертикальных головок (поз. 7 и 17). Отдельные линии подачи обеспечивают маслом коробку 5 привода боковых головок, редуктор 13 механизма подачи стола 14 и редуктор 11, управляющий перемещением траверсы 16. Кроме того, в систему включены редуктор 20 зажима траверсы, червячная коробка 15, муфта привода стола 12, каретки фрезерных головок 21 и узел их поворота 22.
Помимо перечисленных агрегатов, масло направляется к винтовым парам 4, 8 и 29, которые обеспечивают подачу головок, подъём и фиксацию траверсы. В систему также входят направляющие кареток (18) и станины (6), оси направляющих роликов троса (9), сам трос (1), а также ось 10, на которой закреплена кнопочная станция.
Каждый элемент, подключённый к смазочной системе, снабжён контрольными точками, позволяющими выполнять обслуживание: для заправки предусмотрены наливные горловины (Я), для визуального контроля уровня — маслоуказатели (М), а для удаления отработанного масла — сливные отверстия (С).

Рис. ZSK.39.5. Схема смазывания продольно-фрезерного станка 6610
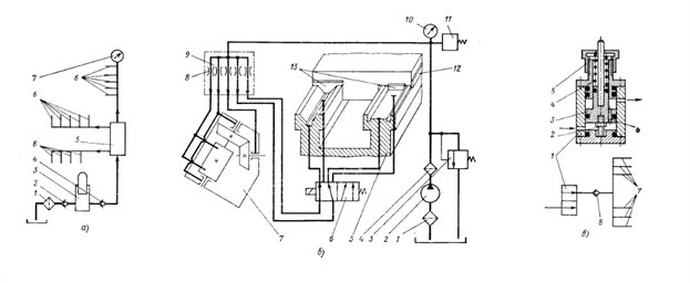
Система подачи смазки в фрезерную головку организована с помощью плунжерного насоса 3 (рис. ZSK.39.6, с), который всасывает масло из резервуара корпуса через фильтр 1 и обратный клапан 2. После этого насос под давлением направляет смазку через обратный клапан 4 и распределитель 5 по трубопроводам 6 к зубчатым колесам и подшипникам головки. Привод насоса осуществляется от кулачка, закрепленного на валу II коробки скоростей (см. рис. 38, а). Контроль работы системы осуществляется с помощью маслоуказателя и манометра 7, позволяющих отслеживать уровень и давление масла.
Подшипники шпинделя в пиноли (см. рис. 125, а) смазываются вручную консистентной смазкой. Для доступа к переднему радиальному подшипнику необходимо снять фланец 6, а задний радиальный и передние упорные подшипники получают смазку через специальные отверстия в пиноли, которые после обслуживания закрываются пробками.

Рис. ZSK.39.6. Схема смазывания узлов продольно-фрезерного станка 6610: а – фрезерной головки; б – направляющей станины и червячной коробки привода стола; в – каретки
Смазка направляющих станины 5 и червячной коробки 7, обеспечивающих движение стола, осуществляется через шестеренный насос 2 (рис. ZSK.39.6, б), использующий станину в качестве резервуара масла. Жидкость поступает в насос через фильтр 1, затем проходит через пластинчатый фильтр 4 и подается к маслораспределителю 9. На распределителе установлены регулирующие дроссели 8, которые дозируют поток масла к подшипникам, зубчатым передачам и направляющим. Каждая точка подачи смазки снабжается маслом в двух местах; при перемещении стола подача к одной из точек автоматически блокируется благодаря переключению золотника 6, приводимого в действие кулачком на столе. Давление масла регулируется напорным золотником 3 и контролируется манометром 10. Для защиты направляющих от попадания стружки, влаги и пыли установлены боковые щитки 12 и скребки 13, а сами направляющие прикрыты телескопическими кожухами.
Направляющие каретки и гайки ходовых винтов смазываются под давлением через дозаторы, подключенные к гидравлической системе зажима и отжима кареток. При начале перемещения каретки сначала срабатывает механизм отжима, и масло поступает в нижнюю полость цилиндра дозатора 1 (рис. ZSK.39.6, в), поднимая поршень 3. Через клапан 8 и трубопровод 7 масло направляется в верхнюю полость и далее к направляющим каретки и гайке ходового винта. После остановки каретки включается механизм зажима: нижняя полость соединяется со сливом, поршень опускается под действием пружины 4, а верхняя полость снова заполняется маслом через дросселирующее отверстие 6.
Объём масла, подаваемого за один цикл работы дозатора, регулируется винтом 2, ограничивающим ход поршня. Дополнительно подачу можно корректировать с помощью колпачка 5, сжимающего пружину 4: чем сильнее пружина, тем меньше требуется перемещение поршня для балансировки давления.
Остальные узлы станка — механизм поворота фрезерных головок, оси роликов направляющих троса, рычаги зажима траверсы и другие элементы — смазываются вручную консистентной смазкой через пресс-масленки с использованием шприца.
В процессе эксплуатации важно регулярно контролировать работу системы, проверять уровень масла в резервуарах, своевременно производить ручное смазывание узлов, поддерживать чистоту станка и следить за исправностью уплотнений, щитков и других защитных элементов, предотвращающих загрязнение трущихся поверхностей, включая направляющие, винтовые и зубчатые пары, подшипники и другие рабочие механизмы.