Уплотнения устройств смазки
Эффективность, срок службы, надежность и безопасность работы систем смазки в значительной степени зависят от качества уплотнительных элементов, правильности их монтажа и строгого соблюдения эксплуатационных требований.
При использовании жидких смазочных материалов наилучшие результаты обеспечивают резиновые армированные манжеты. Они способны работать в среде минеральных масел, воды и дизельного топлива при скоростях скольжения до 20 м/с и при избыточном давлении до 0,05 МПа. Диапазон температур в зоне контакта манжеты с вращающимся валом может находиться в пределах от –45 до +150 °С.
Виды манжет
Манжеты выпускаются двух разновидностей:
- однокромочные;
- однокромочные с дополнительным пыльником.
Для корректной работы уплотнения необходимо, чтобы рабочая кромка всегда имела достаточную смазку. Перед установкой наружную поверхность манжеты (см. рис. ZSK.38.1) и трущиеся зоны рекомендуется смазать.
Уплотнения для низких скоростей вращения
Оптимальным решением при невысоких окружных скоростях вала (до 2 м/с) считается уплотнение, изображённое на рис. ZSK.38.1, а. Для скоростей до 10 м/с применяется конструкция с термообработанной втулкой (рис. ZSK.38.1, б), которая уменьшает износ манжеты и продлевает срок службы узла.
При более высоких скоростях вращения используют уплотнения, показанные на рис. ZSK.38.1, в, г и д.
- Конструкция (рис. ZSK.38.1, в) обеспечивает надёжную защиту с наружной стороны, препятствуя попаданию загрязняющих частиц.
- Вариант (рис. ZSK.38.1, г) лучше удерживает смазочный материал внутри узла, предотвращая его утечку.
- Уплотнение (рис. ZSK.38.1, д) обеспечивает двустороннюю герметизацию, сочетая оба преимущества.
Исполнение, представленное на рис. ZSK.38.1, е, считается малоэффективным, так как расположение уплотнения за шпонкой делает его демонтаж невозможным без снятия самой шпонки. Более удачным является вариант (рис. ZSK.38.1, ж), лишённый указанного недостатка: он допускает замену уплотнения без демонтажа шпонки и надёжно работает при окружной скорости до 10 м/с.
Уплотнения для срежних и высоких скоростей вращения
Для режимов работы, связанных со средними и высокими скоростями вращения вала, рекомендуется применять конструкцию уплотнения, изображённую на рис. ZSK.38.1, м. Особенность данного решения заключается в том, что выброс масла осуществляется в сторону, противоположную расположению уплотнительного элемента, что снижает нагрузку на рабочую кромку и предотвращает её перегрев или ускоренный износ.
Такая схема обеспечивает:
- уменьшение утечек смазочного материала;
- более надёжную защиту уплотнения от воздействия давления и центробежных сил;
- увеличение срока службы узла в условиях интенсивной эксплуатации.
Таким образом, конструкция (рис. ZSK.38.1, м) оптимальна для механизмов, работающих при высоких скоростях вращения, где особенно важно предотвратить вытекание масла и одновременно сохранить устойчивость работы уплотнительного узла.

Рис. ZSK.38.1. Схема установки уплотнителей
Для рабочих режимов со средними скоростями вращения (до 5 м/с) на рис. ZSK.38.1, к показана конструкция уплотнения, применение которой считается нежелательным. Недостаток обусловлен слабым уплотняющим эффектом, возникающим вследствие незначительного перепада зазоров.
Более эффективной является конструкция, представленная на рис. ZSK.38.1, л. В ней герметизация достигается за счёт чередования малых зазоров величиной 0,06…0,07 мм и больших — порядка 2…3 мм, что обеспечивает стабильность уплотнения при эксплуатации.
При использовании пластичных смазочных материалов и скоростях до 8 м/с недопустимо применять конструкцию, изображённую на рис. ZSK.38.1, м, если узел работает в условиях повышенной загрязнённости — это приводит к снижению надёжности.
В тех случаях, когда используется жидкая смазка и скорости превышают 5…6 м/с, требуется установка маслоотражательных колец, выходящих за пределы стенки корпуса (рис. ZSK.38.1, н). Дополнительный положительный эффект создаёт наличие масляной ванночки за подшипником (рис. ZSK.38.1, о), которая способствует улучшению смазки и снижает износ.
Упрощённая схема уплотнения (рис. ZSK.38.1, п) допустима в условиях перепада давления не более 0,5 МПа и окружной скорости вращения вала до 5 м/с.
Требования к поверхностям трения
К поверхностям трения предъявляются строгие требования:
- вал должен быть подвергнут термообработке до твёрдости не ниже HRC 30;
- посадка выполняется по квалитету H10 при шероховатости поверхности не хуже Ra = 0,32 мкм для рабочих поверхностей и Ra = 0,63 мкм — для сопрягаемых;
- радиальное биение вала не должно превышать:
- 0,20 мм при частоте вращения до 500 мин⁻¹,
- 0,15 мм при 500…1500 мин⁻¹,
- 0,08 мм при скоростях свыше 15 000 мин⁻¹;
- несоосность посадочного места под манжету относительно оси вала — не более 0,12 мм при диаметре до 80 мм и 0,15 мм при диаметре от 80 до 150 мм.
Выбор способа установки манжеты также определяет направление уплотнения:
- монтаж рабочей кромкой внутрь препятствует утечке масла из корпуса, но слабо защищает от проникновения внешней среды;
- установка пружиной наружу эффективнее противостоит проникновению загрязнений, но хуже удерживает смазку внутри.
Наиболее надёжный результат обеспечивает применение двух манжет, что позволяет одновременно исключить утечку масла и предотвратить попадание внешних загрязнений в корпус узла.

Рис. ZSK.38.2. Схемы установки манжет
Дополнительные требования в нестандартных условиях
В условиях эксплуатации оборудования в запылённых помещениях необходимо предусматривать дополнительную защиту манжет. Для этой цели перед манжетой устанавливают специальное защитное устройство (рис. ZSK.38.2, а).
Если уплотнение размещается рядом с коническим подшипником, в конструкции предусматривают канавки для отвода масла (рис. ZSK.38.2, б). При работе на перепадах давления, превышающих 5 МПа, во избежание выворачивания манжеты используют конусный упор. Для облегчения обслуживания и замены манжет рекомендуется установка упорной шайбы с демонтажными отверстиями.
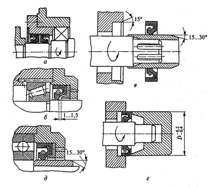
В случае, когда невозможно выполнить фаску на валу (рис. ZSK.38.2, в), монтаж манжеты выполняют с применением специальной установочной втулки. Дополнительно необходимо наличие заходной фаски в посадочном отверстии, чтобы облегчить установку наружной цилиндрической поверхности манжеты. В конструкции (рис. ZSK.38.2, г) втулка также обязательна — она предотвращает перекос при монтаже.
Чтобы снизить износ вала, применяют защитные втулки (рис. ZSK.38.2, д). При этом на втулке предусматривают фаску, предохраняющую рабочую кромку манжеты от повреждений во время установки.
Помимо резиновых уплотнений, могут использоваться фетровые (войлочные) кольца, работоспособные при окружных скоростях до 8 м/с. Однако их применение ограничено: в условиях повышенной загрязнённости такие уплотнения быстро теряют работоспособность, так как абразивные частицы внедряются в материал и вызывают интенсивный износ вала.
Выбор типа войлочного уплотнения зависит от скорости вращения и качества обработки поверхности вала:
- при скорости до 2 м/с допустимы грубошерстные уплотнения (войлок марки Г) при шероховатости вала Ra = 1,25 мкм;
- при 2…5 м/с применение грубошерстного войлока нежелательно; в этом диапазоне более надёжны полугрубошерстные уплотнения (войлок марки Т) в сочетании с обработкой вала до Ra = 0,63 мкм;
- при 5…8 м/с предпочтительны тонкошерстные уплотнения при обработке вала до Ra = 0,32 мкм.
Для защиты узлов или разделения различных видов смазок применяют маслоотбрасывающие (отражательные) кольца. Независимо от их формы и конструкции, кольца должны выступать за пределы уплотняемой стенки, чтобы эффективно отбрасывать излишки масла за счёт центробежной силы. Использовать такие кольца рекомендуется при скоростях вращения свыше 5…6 м/с.