Коллекторы распределения в гидроприводе

Коллекторы служат для распределения рабочей жидкости от гидрораспределителя по жёстким металлическим магистралям к гидроцилиндрам, совершающим качательные движения относительно осей крепления. Такие цилиндры применяются, например, для подъёма и складывания стрелы автокрана или для перемещения грузов.

Конструкция и типы коллекторов

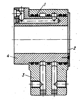
По количеству каналов различают одноканальные, двухканальные, трёхканальные и многоканальные коллекторы. Наибольшее распространение получили двухканальные варианты (см. рис. ZSK.49.1). В их состав входят корпус (поз. 3), сердечник (поз. 4), упорная шайба (поз. 2), а также резиновые уплотнительные кольца (поз. 1).

Коллектор в гидроприводе

Рис. ZSK.49.1. Коллектор

В крановых гидросистемах в качестве уплотнителей обычно применяются кольца круглого сечения из резины по ГОСТ 9833–73. На один канал, как правило, устанавливают два кольца, что обеспечивает достаточную герметичность соединений. В усовершенствованных моделях используют уже три кольца: одно располагается между каналами, а два других фиксируются снаружи. Такая схема повышает надёжность и минимизирует вероятность протечек.

Требования к уплотнительным элементам

Выбор уплотнительных колец напрямую зависит от диаметра сердечника. Согласно нормативам, внутренний диаметр кольца должен быть больше диаметра сердечника на 2–5 %. Для сердечников малых диаметров принимают большую разницу (4–5 %), для крупных (от 200 мм и выше) – меньшую (около 2–3 %). После расчёта размеры округляют в соответствии со стандартными рядами ГОСТ 9833–73.

Конструктивные особенности канавок

Канавки для установки уплотнителей выполняются прямоугольного профиля. Их ширина назначается по ГОСТ с добавлением 1–2 мм к диаметру сечения кольца. Такая конструкция обеспечивает размещение кольца в слегка волнистом положении, что увеличивает площадь контакта и повышает герметичность. Внутренние углы канавок закругляют радиусом 0,2–0,5 мм, а внешние кромки снимаются с радиусом 0,05–0,08 мм. Это исключает быстрое разрушение уплотнителей при работе. Радиальное биение канавки относительно внутренней поверхности корпуса допускается в пределах 0,05–0,06 мм. Шероховатость канавок и стенок корпуса должна составлять Ra = 2,5…0,63 мкм.

Требования к обработке деталей

Сердечник коллектора обрабатывается с высокой точностью. Его поверхность доводят до шероховатости Ra = 0,16…0,08 мкм, после чего наносят слой твёрдого хрома толщиной 0,02–0,03 мм, что значительно увеличивает стойкость к износу. Внутренние поверхности корпуса и канавки хромом не покрываются, но обрабатываются до шероховатости Ra = 2,5…1,25 мкм. Класс точности сопрягаемых размеров должен соответствовать 3-му классу.

Особенности монтажа и эксплуатации

При повороте сердечника многоканального коллектора создаётся момент сопротивления, который может передаваться на соединённые трубопроводы. Чтобы предотвратить их деформацию и возможные протечки из-за ослабления резьбовых соединений, конструкция предусматривает жёсткую фиксацию. Один конец коллектора соединяют с подвижным элементом крана (например, стрелой), а другой крепят к неподвижной части. Это исключает возможность проворачивания трубопроводов вместе с корпусом.

Процесс сборки и испытаний

Перед сборкой все детали промываются в керосине и продуваются сжатым воздухом. Монтаж уплотнительных колец требует особой аккуратности: недопустимы их перекосы или механические повреждения. После окончательной сборки проводится испытание каждого канала на герметичность. Проверка выполняется при давлении, превышающем рабочее в 1,5 раза, с вращением сердечника на полный оборот (360°). Протечки рабочей жидкости через кольца в процессе испытаний не допускаются.

Обработка файлов Cookie
Наш сайт обрабатывает файлы cookie (в том числе, файлы cookie, используемые «Яндекс-метрикой»). Они помогают делать сайт удобнее для пользователей. Нажав кнопку «Соглашаюсь», вы даете свое согласие на обработку файлов cookie вашего браузера. Обработка данных пользователей осуществляется в соответствии с Политикой обработки персональных данных.
Поиск по артикулу