Гидравлические усилители

Гидравлические усилители (ГУ), или гидроусилители, представляют собой устройства, созданные для трансформации управляющего воздействия – будь то усилие, момент или перемещение – в движение исполнительного органа гидродвигателя. Основой работы таких систем является подаваемая под давлением рабочая жидкость. Гидроусилители применяются для контроля за различными элементами гидросистем, включая распределители, клапаны с регулировкой и дроссели, насосы переменной подачи, гидродвигатели и другие компоненты.

Главным параметром гидравлического усилителя считается количество по порядку включённых распределительно-дроссельных устройств (РДР), которые передают сигнал управления для гидродвигателя. В зависимости от этого различают:

  • однокаскадные усилители – наиболее часто встречающиеся;
  • двухкаскадные;
  • многокаскадные системы.

Распределители первого каскада внутри однокаскадных усилителей могут иметь различную конструкцию, что влияет на характеристики передачи сигнала.

Классификация по принципу поддержания пропорциональности между управляющим сигналом и положением исполнительного звена гидродвигателя. По этому признаку выделяют:

  • устройства, работающие без контроля по положению;
  • системы контуром обратной связи который замкнут кинематически;
  • гидромеханические усилители с контуром обратной связи;
  • усилители, использующие силовую обратную связь по положению исполнительного органа.

Структурные элементы типового гидроусилителя:

  • один или несколько РДР, соединённых последовательно для каскадного усиления;
  • исполнительный гидродвигатель, выполняющий преобразование давления в движение;
  • механизм, обеспечивающий функциональную зависимость между управляющим сигналом и смещением ведомого звена.

Электрогидравлические усилители

Отдельно выделяют электрогидравлические усилители (ЭГУ), или электрогидроусилители. Они применяются в системах дистанционного электрогидравлического управления. Основные типы ЭГУ:

  • ЭГУ мощности – преобразуют электрический сигнал управления непосредственно в перемещение ведомого звена;
  • ЭГУ-преобразователи – формируют поток жидкости, пропорциональный входному сигналу.

Электрогидроусилители нашли широкое применение в системах, где сочетаются электрические и гидравлические методы регулирования.

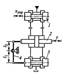
Схема гидроусилителя без обратной связи

Рис. ZSK.28.1. Схема гидроусилителя без обратной связи

Гидроусилители без обратной связи

Принцип функционирования базовых гидроусилителей без обратной связи (см. рис. ZSK.28.1) строится на взаимодействии распределительно-дроссельного устройства (РДР) 1, исполнительного цилиндра 3 и пружин возврата 2. Управляющий элемент распределителя формирует разность давления в междроссельных полостях, что вызывает перемещение штока цилиндра. При это упругие силы пружин компенсируют давление рабочей жидкости, обеспечивая равновесие.

Конструктивные особенности:

  • РДР с двумя или четырьмя щелями;
  • системы типа сопло–заслонка;
  • распределители со струйной трубкой и их модификации;
  • четырёхщелевые золотниковые РДР с отрицательным перекрытием, так называемые «с протоком».

Ограничения и недостатки:

  • постоянное протекание рабочей жидкости в холостом режиме, снижающее энергетическую эффективность;
  • высокая постоянная времени из-за сжимаемости жидкости, ограничивающая быстродействие;
  • чувствительность к внешним нагрузкам и трению в механизмах.

Преимущества заключаются в простоте конструкции и надёжности регулирования, особенно при использовании схем сопло-заслонка в электрогидравлических следящих приводах.

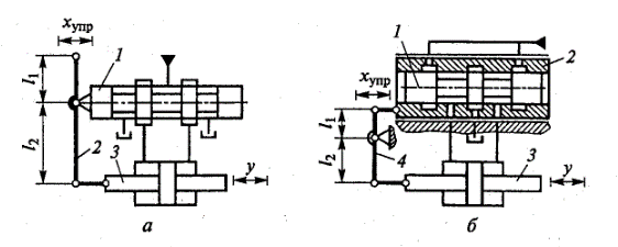
Гидроусилители с кинематической обратной связью

Гидроусилители с кинематической обратной связью по положению

Рис. ZSK.28.2. Схемы гидроусилителей с кинематической обратной связью по положению

В гидроусилителях с кинематической обратной связью (см. рис. ZSK.28.2) распределительно-дроссельное устройство 1 связано с рычажным механизмом 2, который посредством штока гидроцилиндра 3 возвращает управляющий орган распределителя в нейтральное положение после отклонения. Благодаря этому формируется замкнутый регулировочный контур: положение штока фиксируется в точке, соответствующей изначальному смещению управляющего звена.

Варианты конструкции включают:

  • золотник с гильзой и рычагом обратной связи;
  • прямое крепление РДР к штоку или корпусу цилиндра (частный случай с Lу = 1, l₁ = l₂).

Особенности применения: малые утечки, стабильное позиционирование ведомого звена, повышенная точность, но более сложная механическая часть.

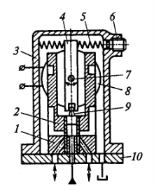
Гидроусилители с гидромеханической обратной связью по положению

Гидроусилитель с гидромеханической обратной связью по положению

Рис. ZSK.28.3. Схема гидроусилителя с гидромеханической обратной связью по положению

Схема гидроусилителя с гидромеханической обратной связью (рис. ZSK.28.3) включает два РДР проточного типа (1 и 3), гидроцилиндр 2 и рычаг 4. Управляющий сигнал РДР 1 вызывает перепад давления в цилиндре, перемещающий шток. Через рычаг перемещение штока корректирует проходное сечение РДР 3, выравнивая сопротивления.

Преимущества: дистанционное размещение задающего РДР, отсутствие жёсткой механической тяги, гибкость компоновки.

Недостатки: проточный расход жидкости, чувствительность к нагрузкам и трению в направляющих.

Гидроусилители с силовой обратной связью по положению

Гидроусилитель с силовой обратной связью по положению

Рис. ZSK.28.4. Гидроусилитель с силовой обратной связью по положению

В данных системах (см. рис. ZSK.28.4) управляющий сигнал реализуется за счёт приложения усилия к РДР. С помощью рычага и упругого элемента обратной связи исполнительный гидроцилиндр создаёт встречное усилие. Когда эти силы приходят в равновесие, шток закрепляется в положении, пропорциональном величине входного сигнала.

Преимущества: прямое использование приложенного усилия для управления, высокая чувствительность и точность, возможность работы с электромеханическими преобразователями.

Электрогидравлические усилители мощности без обратной связи

Электрогидравлический усилитель без обратной связи преобразует электросигнал в поток жидкости, который регулирует скорость движения исполнительного гидродвигателя. Поведение системы во многом определяется характеристиками подключённой гидросети.

Двухкаскадные ЭГУ (рис. ZSK.28.5) включают: первый каскад – сопло-заслонка, второй – золотниковый РДР с пружинами возврата. Первый каскад формирует разность давления, второй усиливает поток жидкости для управления гидродвигателем.

Двухкаскадный электрогидравлический усилитель без обратной связи

Рис. ZSK.28.5. Конструктивная схема двухкаскадного электрогидравлического усилителя мощности без применения обратной связи

Другие типы электрогидравлических усилителей

ЭГУ с гидромеханической обратной связью (рис. ZSK.28.6): перемещение штока через рычаг корректирует положение РДР второго каскада, создавая замкнутый контур регулирования.

Двухкаскадный электрогидравлический усилитель с гидромеханическим контуром обратной связи по положению

Рис. ZSK.28.6. Схематическое изображение двухкаскадного электрогидравлического усилителя с гидромеханическим контуром обратной связи по положению

ЭГУ с силовой обратной связью (рис. ZSK.28.7): управляющее усилие воздействует на РДР; обратная сила через пружину и рычаг уравновешивает входной сигнал, обеспечивая точное позиционирование.

Упрощенное представление двухкаскадного электрогидроусилителя с силовой системой обратной связи по положению

Рис. ZSK.28.7. Двухкаскадный электрогидроусилитель с силовой системой обратной связи по положению в упрощённом представлении

ЭГУ с комбинированной обратной связью (рис. ZSK.28.8–28.9) применяет обратную связь по положению, скорости и давлению нагрузки, компенсируя силы трения, несимметричные нагрузки и упругие возмущения, что обеспечивает высокую точность и стабильность работы.

Однокаскадный электрогидравлический усилитель с силовой обратной связью по положению и дополнительной регулировкой по скорости

Рис. ZSK.28.8. Однокаскадный электрогидравлический усилитель с силовой обратной связью по положению и дополнительной регулировкой по скорости

Однокаскадный электрогидоусилитель с силовой обратной связью по положению и добавочной положительной связью

Рис. ZSK.28.9. Схема однокаскадного ЭГУ с силовой обратной связью по положению и добавочной положительной связью, учитывающей давление нагрузки

ЭГУ с обратной связью по расходу (рис. ZSK.28.10–28.11) использует датчик расхода, преобразующий поток жидкости в механическое воздействие на РДР, поддерживая стабильный расход независимо от нагрузки.

Двухкаскадный электрогидравлический усилитель с обратной связью по расходу жидкости

Рис. ZSK.28.10. Двухкаскадный электрогидравлический усилитель, оснащённый обратной связью, формируемой по расходу жидкости

Однокаскадный электрогидравлический усилитель с регулированием через обратную связь по расходу

Рис. ZSK.28.11. Однокаскадная схема электрогидравлического усилителя с регулированием через обратную связь по расходу

ЭГУ с обратной связью по давлению нагрузки (рис. ZSK.28.12) формирует перепад давления в исполнительных гидролиниях, автоматически компенсируя изменение нагрузки на ведомое звено.

Двухкаскадный электрогидроусилитель с системой обратной связи по перепаду давления нагрузки

Рис. ZSK.28.12. Двухкаскадный электрогидроусилитель с системой обратной связи, основанной на контроле перепада давления нагрузки

Обработка файлов Cookie
Наш сайт обрабатывает файлы cookie (в том числе, файлы cookie, используемые «Яндекс-метрикой»). Они помогают делать сайт удобнее для пользователей. Нажав кнопку «Соглашаюсь», вы даете свое согласие на обработку файлов cookie вашего браузера. Обработка данных пользователей осуществляется в соответствии с Политикой обработки персональных данных.
Поиск по артикулу