Регулирующая и направляющая гидроаппаратура

Быстрый переход по темам

1) Гидроклапаны
2) Дроссели
3) Дифференциальный клапан
4) Клапаны непрямого действия
5) Редукционные клапаны
6) Ограничители расхода
7) Делители и сумматоры потока
8) Дроссели и регуляторы расхода

Под понятием гидроаппаратура подразумевают совокупность устройств, которые применяются в гидравлических приводах для контроля и управления потоком рабочей жидкости. Основные задачи таких аппаратов заключаются в изменении или поддержании давления и расхода жидкости, а также в управлении направлением её движения внутри системы.

Основные классы гидропаппаратуры

Регулирующая гидроаппаратура – предназначена для воздействия на давление, расход и направление потока. Это достигается частичным перекрытием или открытием проходного сечения, что позволяет плавно управлять параметрами жидкости и обеспечивать точное позиционирование исполнительных механизмов.

Направляющая гидроаппаратура – служит исключительно для изменения направления движения жидкости, обеспечивая полное открытие или закрытие канала. Такой тип аппаратов позволяет быстро перенаправлять поток без промежуточных регулировок, что важно для точного и быстрого управления гидроприводом.

Рабочее сечение таких устройств изменяется за счёт перемещения запорно-регулирующего элемента, который является основной функциональной частью конструкции.

По принципу работы выделяют следующие типы гидроаппаратуры:

  • гидроклапаны, которые управляют потоком и давлением за счёт перемещения запорного органа;
  • дроссели, или аппаратуру неклапанного действия, которая регулирует расход жидкости за счёт сужения канала.

По конструкции запорно-регулирующего органа аппараты могут быть следующих типов:

  • шариковые, где элемент закрытия представляет собой сферический шарик;
  • конусные, с элементом в форме конуса, обеспечивающего плавное регулирование;
  • тарельчатые, использующие дискообразные элементы;
  • золотниковые, где движение золотника открывает или закрывает каналы.

В зависимости от способа воздействия на рабочий орган гидроаппаратура подразделяется на регулируемую, когда параметры можно изменять в процессе работы, и настраиваемую, когда рабочие характеристики задаются заранее и остаются фиксированными во время эксплуатации.

Графическая схема устройства напорных клапанов

Рис. ZSK.18.1. Принципиальные схемы напорных клапанов с запорно-регулирующими элементами: а - с шариковым; б - с конусным; в - с золотниковым; г - с тарельчатым.

Конструкция и принцип работы гидроаппаратуры 

Гидроаппаратура представляет собой комплекс устройств для управления потоками рабочей жидкости в гидравлических системах. По принципу действия и конструкции выделяют несколько основных типов:

Гидроклапаны

Гидроклапан — это функциональный элемент гидравлической системы, служащий для управления потоками рабочей жидкости. Его работа основана на изменении степени открытия проходного канала в зависимости от параметров среды, таких как давление или расход. Благодаря этому обеспечивается регулирование основных характеристик гидропривода: давления, направления и объёма жидкости. Таким образом, гидроклапаны выполняют двойную роль — не только поддерживают стабильную работу исполнительных механизмов, но и защищают оборудование от перегрузок, аварийных ситуаций и нештатных режимов эксплуатации.

По принципу действия гидроклапаны делятся на два основных класса:

Прямого действия. В подобных устройствах поток рабочей жидкости непосредственно контактирует с запорно-регулирующим элементом. Под воздействием давления или расхода этот элемент изменяет своё положение, регулируя величину проходного сечения. Простота конструкции, высокая скорость реакции и минимальное время отклика делают такие клапаны удобными для применения в системах, где важна быстрота срабатывания.

Непрямого действия. В этих клапанах воздействие рабочей среды передаётся сначала на вспомогательный орган, а уже через него — на основной запорный элемент. Подобная схема разгружает главный узел от чрезмерных механических нагрузок, обеспечивает более высокую точность регулирования и позволяет добиться плавной и устойчивой работы при изменениях гидравлических параметров.

Дроссели

Дроссели в гидравлических установках выполняют функцию регулируемого сопротивления потоку: изменяя сечение канала, они управляют скоростью движения жидкости и тем самым позволяют контролировать расход. Такие элементы могут использоваться как отдельные узлы, так и в составе комбинированных систем совместно с клапанами, что обеспечивает плавность регулирования и высокую точность работы гидроприводов.

Напорные гидроклапаны предназначены для защиты и регулирования работы гидросистемы за счёт поддержания давления в питающей магистрали на допустимом уровне. Их задача — предотвратить избыточные нагрузки в линии подачи жидкости к исполнительным механизмам. На рис. ZSK.18.1 показаны схемы клапанов прямого действия, оснащённых различными типами запорно-регулирующих элементов. Эти варианты наглядно отражают разнообразие конструктивных подходов, применяемых для управления потоками рабочей жидкости в зависимости от требований конкретной системы:

  • шариковый;
  • конусный;
  • плунжерный;
  • тарельчатый.

Конструкция напорного клапана включает:

  • запорный элемент (шарик, конус, плунжер или тарельчатый диск);
  • пружину, усилие которой регулируется винтом для установки необходимого порога давления;
  • корпус с седлом, обеспечивающим герметичное закрытие канала при нормальном давлении.

Принцип работы напорного клапана строится на взаимодействии двух сил: давления рабочей жидкости и упругости возвратной пружины. В штатном режиме пружина удерживает запорный элемент, прижимая его к седлу, и тем самым полностью изолирует линию высокого давления от сливного канала. Когда давление в системе превышает установленный предел, избыточное усилие потока преодолевает сопротивление пружины, вызывая смещение запорного органа и открывая проход для сброса части жидкости в слив. Как только давление падает до допустимого значения, элемент автоматически возвращается в исходное положение, снова герметично перекрывая канал и прекращая отвод жидкости.

Недостатки клапанов прямого действия связаны с динамическими процессами: частые удары и вибрации запорного элемента о седло приводят к ускоренному износу деталей и ухудшению герметичности соединений. Для компенсации этих явлений в конструкциях применяют демпфирующие устройства (см. рис. ZSK.18.1, б, г), которые создают дополнительное гидравлическое сопротивление и обеспечивают более плавную работу клапана.

Преимущества: высокая скорость реагирования на изменения давления.

Ограничения: при росте давления увеличиваются размеры клапана, а также возможна неустойчивость работы при резких перепадах давления.

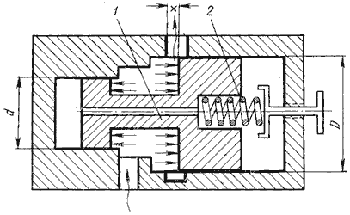
Дифференциальный клапан

Чтобы сократить размеры гидроклапанов и снизить нагрузку на упругий элемент, в современных гидравлических установках всё чаще применяются дифференциальные клапаны (рис. ZSK.18.2) и клапаны непрямого действия (рис. ZSK.18.3). Использование таких схем позволяет уменьшить габариты и массу узлов без потери рабочих характеристик, что особенно актуально для компактных и мобильных гидросистем, где важны лёгкость, экономия пространства и высокая эффективность оборудования.

Схематичное изображение дифф клапана

Рис. ZSK.18.2. Принципиальная схема дифференциального клапана

Ключевым звеном конструкции выступает плунжер, выполненный с двумя поясками разного диаметра — D и d. Благодаря такому решению создаётся своеобразный эффект дифференциального давления: силы, действующие со стороны рабочей жидкости, оказывают различное влияние на каждую из поверхностей. В результате нагрузка на плунжер распределяется несимметрично, что позволяет частично разгрузить механизм, уменьшить требуемое усилие возвратной пружины и тем самым обеспечить более компактные габариты клапана при сохранении его функциональности.

Преимущества такой конструкции:

  • Существенное уменьшение эффективной площади воздействия давления рабочей жидкости, что снижает нагрузку на возвратную пружину.
  • Возможность установки более компактной и мягкой пружины, что уменьшает габариты и вес клапана без потери функциональности.
  • Снижение усилия на управляющий элемент, что повышает скорость срабатывания клапана и уменьшает износ подвижных деталей.

Принцип работы:

В нормальном режиме пружина удерживает плунжер в седле, полностью перекрывая сливной канал. При превышении заданного давления поток жидкости начинает воздействовать на меньший пояска d, вызывая смещение плунжера и открытие сливного канала. Дифференциальная конструкция распределяет силы неравномерно, частично разгружая пружину и обеспечивая более стабильную и мягкую работу клапана даже при высоких давлениях.

Начальная сила натяжения определяется по формуле:

F0=ΔPA

где ΔP – разность давлений, A – эффективная площадь.

При этом в реальных конструкциях соотношение диаметров D и d выбирают так, чтобы силы давления и трения были сопоставимы, иначе клапан может перестать работать.

Недостаток – резкий скачок давления и расхода при открытии, поэтому ход запорного элемента ограничивают.

Клапаны непрямого действия

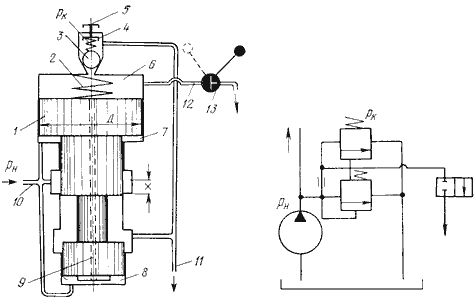
На рисунке ZSK.18.3 показан напорный клапан непрямого действия. В качестве основного рабочего органа здесь используется ступенчатый золотник, а непосредственное управление реализуется через вспомогательный шариковый клапан прямого действия. Такой подход позволяет снизить механическую нагрузку на золотник и обеспечить более плавное срабатывание системы.

Принципиальная схема клапана непрямого действия

Рис. ZSK.18.3. Напорный клапан непрямого действия: а - принципиальная схема; б - условное обозначение

В нормальном состоянии золотник удерживается в исходной позиции под воздействием пружины, полностью перекрывая соединение между магистралью высокого давления и сливной линией. При превышении давления выше заданного уровня шариковый клапан открывается, создавая перепад давлений в разных полостях золотника. Этот перепад вызывает подъём золотника, в результате чего открывается путь для сброса жидкости в слив. После снижения давления шариковый клапан возвращается в закрытое положение, золотник постепенно опускается на своё место, восстанавливая герметичность и исходное состояние потока в гидросистеме.

Такой непрямой механизм срабатывания обеспечивает более тихую и точную работу клапана, повышает чувствительность к изменениям давления и снижает зависимость поддерживаемого давления от величины расхода жидкости.

Преимущества клапанов непрямого действия по сравнению с клапанами прямого действия:

  • Плавная и бесшумная работа, так как основной золотник под воздействием перепада давления перемещается постепенно, исключая резкие удары о седло.
  • Повышенная чувствительность к изменениям давления, что позволяет точнее поддерживать заданные параметры работы гидросистемы.
  • Независимость поддерживаемого давления от расхода, благодаря чему клапан сохраняет стабильность работы даже при изменяющихся режимах потока.
  • Возможность использования при высоких давлениях и больших расходах, при этом сохраняется долговечность и герметичность устройства.

Клапаны непрямого действия широко применяются в мобильной гидравлике, промышленном оборудовании и станочных гидроприводах, где важна точная и надёжная стабилизация давления при разнообразных режимах работы

Редукционные клапаны

Редукционные клапаны представляют собой элементы гидросистем, основное назначение которых заключается в снижении давления рабочей среды до необходимого уровня и его последующем удержании в стабильных пределах. В процессе функционирования они обеспечивают, чтобы давление на выходе оставалось ниже входного, тем самым предотвращая перегрузку трубопроводов и исполнительных органов. Их ключевая задача — поддерживать устойчивые параметры потока жидкости или газа, исключая опасные скачки и превышения допустимых значений. Благодаря этому редукционные клапаны выполняют не только функцию стабилизации, но и играют роль защитного устройства, повышающего надёжность и долговечность работы гидравлического оборудования.

Редукционные клапаны, применяемые в гидроприводах и пневмосистемах, по принципу функционирования подразделяются на два основных класса:

1. Устройства с фиксированным коэффициентом редукции давления.

В таких клапанах реализуется поддержание постоянного соотношения между входным и выходным давлением. Это означает, что при изменении давления в питающей магистрали давление на выходе изменяется синхронно и пропорционально, сохраняя установленную пропорцию. Подобное решение находит применение в тех случаях, когда допускаются плавные колебания давления в рабочей линии, а высокая точность стабилизации не является ключевым требованием. Достоинство данного типа заключается в простоте конструкции и надёжности работы в условиях, где избыточная жёсткость регулирования не требуется.

2. Клапаны стабилизирующего типа с постоянным выходным давлением.

Этот вариант обеспечивает строгое поддержание заранее заданного уровня давления на выходе, практически полностью исключая влияние изменений давления на входе. Реализация функции достигается за счёт чувствительного регулирующего органа (например, мембраны, золотника или комбинации упругих элементов и пружин), который автоматически реагирует на малейшие колебания входных параметров и мгновенно компенсирует их. Благодаря этому клапаны данного класса особенно востребованы в системах, где требуется высокая точность поддержания давления, стабильность работы исполнительных механизмов и защита оборудования от перегрузок.

Применение редукционных клапанов позволяет:

  • защитить оборудование от перегрузок;
  • обеспечить стабильное давление для гидро- и пневмоприводов;
  • повысить точность работы регулируемых исполнительных механизмов.

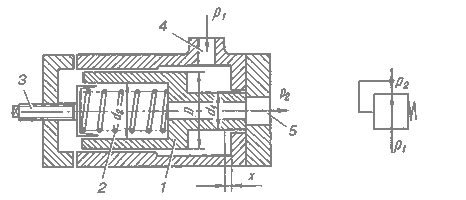
Схема редукционного клапана

Рис. ZSK.18.4. Редукционный клапан: а - принципиальная схема; б - условное обозначение

Пример схемы показан на рис. ZSK.18.4. Давление на выходе определяется по зависимости:

P2=f(P1,Pпр,c)

где P1 – давление на входе, Pпр – начальное натяжение пружины, c – её жёсткость.

Клапаны непрямого действия (рис. ZSK.18.5) обеспечивают более устойчивую работу благодаря вспомогательному шариковому клапану и капиллярным каналам, создающим перепад давления.

 Схематичное изображение редукционного клапана

Рис. ZSK.18.5. Редукционный клапан непрямого действия: а - принципиальная схема; б - условное обозначение

Обратные клапаны представляют собой устройства, назначение которых заключается в одностороннем пропуске рабочей среды — жидкости или газа. Они обеспечивают движение потока только в заданном направлении и автоматически перекрывают его при попытке обратного хода. Основным функциональным узлом служит запирающий элемент, конструктивное исполнение которого может быть различным: шариковым, конусным, тарельчатым или комбинированным.

Для повышения герметичности и надёжности нередко применяются конструкции с двумя и более запорными элементами. Такое решение гарантирует плотное прилегание к седлу и предотвращает утечки даже в условиях высоких рабочих давлений.

Принцип действия можно рассмотреть на примере клапана типа Г51 (рис. ZSK.18.6). При подаче жидкости во входное отверстие давление рабочей среды поднимает запирающий орган, обеспечивая свободный проход потока к выходу. Если направление меняется на противоположное, элемент автоматически прижимается к седлу корпуса, надёжно изолируя магистраль и блокируя обратное движение.

Сферы применения обратных клапанов:

  • предотвращение обратного тока жидкости в линиях высокого давления;
  • создание необходимого подпора в гидросистеме;
  • фиксация штока или поршня в вертикальном положении для исключения самопроизвольного опускания;
  • защита системы от утечек при её разборке и техническом обслуживании (см. рис. ZSK.18.7).

Таким образом, обратные клапаны выполняют критически важную функцию — они повышают безопасность эксплуатации гидросистем, предотвращают аварийные режимы и обеспечивают устойчивую работу технологического оборудования.

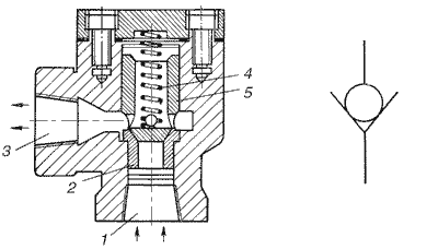
Схема ограничителя расхода

Рис. ZSK.18.6. Обратный клапан типа Г51: а - конструкция; б - условное обозначение

Схема блокировочного устройства

Рис. ZSK.18.7. Блокировочное устройство

Ограничители расхода

Ограничитель расхода (см. рис. ZSK.18.8) представляет собой устройство, конструктивно состоящее из корпуса, внутри которого расположен подвижный поршень с встроенной пружиной. Поршень оборудован калиброванным отверстием, а сам корпус содержит окна для прохождения жидкости.

Принцип действия:

Когда расход рабочей жидкости увеличивается, создаётся перепад давления на поршне, который преодолевает сопротивление пружины. В результате поршень смещается внутри корпуса и частично перекрывает окна, уменьшая площадь сечения и ограничивая поток. При снижении расхода давление падает, и под действием силы пружины поршень возвращается в исходное положение, открывая окна и восстанавливая первоначальный пропускной срез.

Таким образом, ограничитель расхода автоматически поддерживает заданный диапазон потока, защищает гидросистему от перегрузок и обеспечивает стабильность работы оборудования при изменении условий эксплуатации. Конструкция с калиброванным отверстием позволяет плавно регулировать поток и минимизировать гидравлические удары.

Схема ограничителя расхода

Рис. ZSK.18.8. Ограничитель расхода: а - принципиальная схема; б - зависимость Q=f(ΔP); в - условное обозначение

Характеристика ограничителя имеет вид:

Q=f(ΔP)

где при ΔPP0 расход зависит от перепада давления, а при ΔPP0 становится постоянным Q0.

Делители и сумматоры потока

Делитель потока (см. рис. ZSK.18.9) представляет собой гидравлическое устройство, предназначенное для разветвления одного потока жидкости на два одинаковых потока, при этом их величины остаются постоянными вне зависимости от нагрузки на каждом из выходов. Работа делителя основана на подвижном плунжере, который автоматически регулирует сопротивление дросселей, распределяя поток равномерно между двумя каналами.

Сумматор потока — обратный режим работы того же устройства. В этом случае два отдельных потока жидкости подаются на входы сумматора и объединяются в один общий поток на выходе. Принцип действия сохраняется тот же: плунжер смещается под действием давления, обеспечивая корректное суммирование расхода и поддерживая стабильное давление в системе.

Использование делителей и сумматоров потока позволяет решать задачи параллельного и последовательного гидропривода, обеспечивая равномерное распределение мощности и предотвращая перегрузки отдельных линий гидросистемы. Такие устройства повышают надёжность и точность работы оборудования при сложных схемах гидропривода.

Схема делителя потока

Рис. ZSK.18.9. Делитель потока: а - принципиальная схема; б - условное обозначение; в - условное обозначение сумматора потока

Дроссели и регуляторы расхода

Дроссели – это элементы гидросистем, назначение которых заключается в регулировании расхода рабочей жидкости, а следовательно, в управлении скоростью движения исполнительных звеньев гидропривода. Основная их функция состоит в создании дозируемого гидравлического сопротивления, благодаря которому обеспечивается плавность хода штоков, поршней и других механизмов.

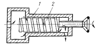
Линейные дроссели (рис. ZSK.18.10) обладают зависимостью, при которой падение давления на устройстве прямо пропорционально расходу жидкости. Конструктивно они выполняются достаточно просто: корпус 1 и регулировочный винт 2, перемещением которого изменяется площадь проходного канала. Тем самым оператор может задавать необходимую скорость потока и управлять динамикой исполнительного органа.

Графическое представление линейного дросселя

Рис.ZSK.18.10. Линейный дроссель: 1 - корпус; 2 - винт

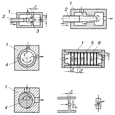
Нелинейные дроссели (или квадратичные) отличаются тем, что создаваемый перепад давления изменяется пропорционально квадрату расхода. Такие устройства применяются там, где требуется специфическая зависимость между расходом и потерями давления или где необходимо компенсировать неравномерности гидропотоков. В зависимости от исполнения рабочее сечение формируется различными подвижными элементами — игольчатыми затворами, пробками или пакетами пластин. В регулируемых конструкциях оператор может изменять сечение вручную, тогда как нерегулируемые имеют фиксированную настройку (рис. ZSK.18.11).

Схемы нелинейных дросселей

Рис. ZSK.18.11. Принципиальные схемы нелинейных дросселей: а - игольчатого; б - комбинированного; в - пробкового щелевого; г - пробкового эксцентричного; д - пластинчатого пакетного; е - пластинчатого; ж - условное обозначение регулируемого дросселя; 1 - корпус; 2 - игла; 3 - диафрагма; 4 - пробка; 5 - пластина; 6 - втулка

Формула для определения расхода через дроссель:

Q=μω2ΔPγ

где ω — площадь рабочего сечения, ΔP — перепад давления на дросселе, μ — коэффициент расхода, γ — удельный вес жидкости.

Главным минусом простейших дросселей считается то, что их пропускная способность напрямую зависит от текущего давления в линии, из-за чего расход рабочей жидкости может значительно колебаться. Чтобы устранить этот недостаток, в гидросистемах используют регуляторы расхода (рис. ZSK.18.13, ZSK.18.14). Конструктивно такие устройства объединяют в себе дроссель и редукционный клапан, что позволяет автоматически поддерживать постоянный перепад давления на регулирующем элементе. Благодаря этому обеспечивается стабильный и практически неизменный расход жидкости, даже при существенных колебаниях давления в подводящей магистрали. Типовая зависимость расхода от давления для регулируемого дросселя показана на графике (рис. ZSK.18.12).

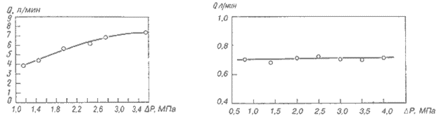
График проливочных характеристик

Рис. ZSK.18.12. Проливочные характеристики а - дросселя Г77-11; б - регулятора расхода Г55-21

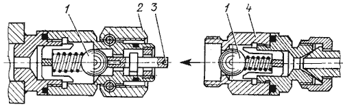
Схема регулятора расхода Г77-11

Рис. ZSK.18.13. – Регулятор расхода Г77-11

Схема регулятора расхода Г55-21

Рис. ZSK.18.14. - Регулятор расхода Г55-21

Таким образом, гидравлическая аппаратура представляет собой комплекс разнообразных устройств, начиная от элементарных дросселей и заканчивая сложными клапанами непрямого действия. Эти элементы выполняют ключевую роль в управлении потоками рабочей жидкости, обеспечивая точное регулирование давления и расхода, поддержание стабильной работы гидросистем и защиту оборудования от перегрузок. Широкий спектр конструктивных решений позволяет адаптировать гидроаппаратуру под различные задачи промышленного и технологического применения, гарантируя надёжность, долговечность и безопасное функционирование всей системы.

Обработка файлов Cookie
Наш сайт обрабатывает файлы cookie (в том числе, файлы cookie, используемые «Яндекс-метрикой»). Они помогают делать сайт удобнее для пользователей. Нажав кнопку «Соглашаюсь», вы даете свое согласие на обработку файлов cookie вашего браузера. Обработка данных пользователей осуществляется в соответствии с Политикой обработки персональных данных.
Поиск по артикулу