Гидроусилитель золотникового типа
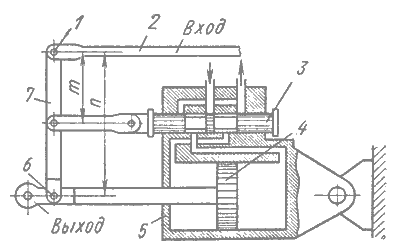
Гидроусилитель золотникового типа включает в себя набор элементов, схожих с устройством усилителя рулевого механизма автомобиля, что обеспечивает простоту и надёжность конструкции. Основные компоненты устройства — это тяга управления 2, соединённая с ручкой оператора, В гидроусилителе золотникового типа при перемещении управляющей тяги 2 воздействие передаётся на шарнир 1 дифференциального рычага 7 обратной связи. Через этот рычаг осуществляется смещение плунжера золотника распределителя 3, который определяет направление и поток рабочей жидкости к полостям силового цилиндра 5. Одновременно штоки силового цилиндра 5 соединены с поршнем 4, передающим усилие на шарнир 6 и связанное с ним выходное звено.
На начальном этапе движения тяги 2 силы, прикладываемые к золотнику 3, существенно меньше тех усилий, которые действуют на поршень 4 силового цилиндра. Вследствие этого шарнир 6 остаётся практически неподвижным, что обеспечивает эффективное преобразование относительно малого управляющего усилия в значительно большее воздействие на исполнительный механизм. Такая конструкция позволяет минимизировать инерционные и трениевые потери в системе, обеспечивая точное и пропорциональное управление гидроусилителем.
Кроме того, дифференциальный рычаг 7 играет ключевую роль в обеспечении обратной связи: перемещение выходного звена передаётся обратно к плунжеру золотника, что позволяет постепенно корректировать его положение и поддерживать точность управления. Это создает непрерывный цикл регулирования, при котором каждая команда оператора мгновенно отражается на движении исполнительного механизма, одновременно компенсируя возможные колебания давления и нагрузки в системе. В итоге гидроусилитель обеспечивает плавное, стабильное и высокоэффективное управление, при котором усилия на входе преобразуются в контролируемую и пропорциональную реакцию на выходе, позволяя достичь высокой точности и надёжности работы всего механизма.

Рис.ZSK.32.1. Схема гидроусилителя золотникового типа с обратной связью: 1 - шарнир; 2 - тяга; 3 - золотник распределителя; 4 - поршень; 5 - корпус силового цилиндра; 6 - шарнир; 7 - дифференциальный рычаг
Когда золотник выходит из нейтрального положения, поток рабочей жидкости перенаправляется в нужную полость цилиндра 5, что инициирует движение поршня 4. Перемещение поршня передаётся через шарнир 6 на выходное звено, обеспечивая прямую пропорциональную связь между действием оператора и откликом исполнительного механизма. Благодаря такому устройству гидроусилителя перемещения входной тяги точно отражаются на выходном звене, обеспечивая плавность хода и стабильность управления всей системой.
Когда движение тяги 2 прекращается, поршень 4 продолжает движение под действием инерции или давления жидкости, передавая через дифференциальный рычаг 7 обратной связи противодействующее смещение плунжеру золотника 3. В этот момент расходные окна золотника постепенно закрываются, ограничивая поступление жидкости в цилиндр 5 и плавно замедляя поршень до полной остановки, когда золотник возвращается в положение полной нейтральности. Такой механизм предотвращает резкие колебания и обеспечивает мягкое завершение движения, снижая износ компонентов и повышая точность управления.
При смещении плунжера золотника в противоположную сторону происходит обратное движение всех элементов устройства — поршня, шарниров и рычагов. В реальной эксплуатации этапы «входа» и «выхода» происходят практически одновременно, без резких пауз, что обеспечивает непрерывное слежение исполнительного механизма за движением входного элемента. Благодаря этому гидроусилитель обеспечивает не только высокую точность и плавность работы, но и возможность регулировки усилий оператора при различных режимах эксплуатации, создавая надежный контроль движения исполнительных органов и оптимальное распределение сил в гидросистеме.
Такая конструкция позволяет использовать гидроусилители золотникового типа в сложных системах, где необходима высокая точность и устойчивость к динамическим нагрузкам, а также обеспечивает возможность интеграции с автоматизированными системами управления для современных транспортных и промышленно-технических комплексов.